Your twitter archive
Ich habe einen neuen High Score von 49.956 Punkten mit Maya in Alto's Adventure aufgestellt! https://itunes.apple.com/us/app/altos-adventure/id950812012?ls=1&mt=8

Wed Apr 01 04:44:55 +0000 2015
Security flaw gave researcher the power to erase every video on YouTube http://zite.to/1CgV4pH
Fri Apr 03 05:51:23 +0000 2015
Just completed a 5.56 km run - Strandrun http://rnkpr.com/a906atu #RunKeeper
Thu Apr 09 08:34:17 +0000 2015
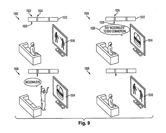
RT @joshuahillyer: This is my all time favorite patent picture.

Sat Apr 11 21:47:24 +0000 2015
Just completed a 3.43 km run with RunKeeper. Check it out! http://rnkpr.com/a91eyov #RunKeeper
Sun Apr 12 10:58:46 +0000 2015
Goodby AT-AT, bauen hat Spaß gemacht, ich freue mich schon auf das nächste Set von @bauduu

Mon Apr 13 18:17:51 +0000 2015
Just completed a 3.01 km run with RunKeeper. Check it out! http://rnkpr.com/a93aoyp #RunKeeper
Thu Apr 16 15:20:43 +0000 2015
RT @DeathStarPR: The Empire is dead. Long live the similar but legally distinct First Order!
#CorporateRebranding #StarWars
Thu Apr 23 04:36:44 +0000 2015
RT @gazosullivan: This is probably the most depressing advert for tech I have seen, hat tip to @Dom_Walsh for sharing the misery http://t.c…
Thu Apr 23 04:58:05 +0000 2015